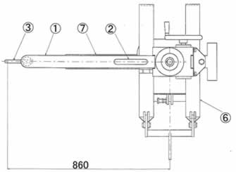
樹脂ドラム反転吊り具/品番 MD263-B
お問い合わせ |
お見積もり |
ご注文書
同一カテゴリの物流機器:
ファイバードラムリフター/品番 MD2671P-FR
樹脂ドラム反転吊り具/品番 MD263-B
樹脂・鉄両用ドラムグリップ/品番 MD26F-1150/MD26F-2150
ステンレスドラム反転リフター/品番 M20T-300KG-SUS
ステンレスドラムリフト/品番 M20TD-3001SUS
ステンレス容器リフト運搬車/品番 M902B-150SUSA
クリーンルームステンレス容器運搬車/品番 M902B-200SUSDGA
ドラムハンガー吊り具/品番 MB12DK-500
長尺取手ドラムリフト/品番 MD261000/MD261010
ドラムリフト/品番 MD26-300シリーズ
500kgドラムリフト/品番 MD26-500
中揚程ドラムリフト/品番 MD261061
高揚程ドラムリフト/品番 MD266010
ペール缶一斗管スタンド/品番 M784SG-2T
ドラム缶キャップ(クローズ缶)黒色/品番 MB28CL-INJB
ドラム缶運搬車/品番 M218N-250KG
スチールドラム用運搬車/品番 M218N-DK200KG
ステンレスボンベ台車/品番 M913-41Kシリーズ
ドラム缶用じょうご/品番 M218DF-54P
ドラム缶運搬ドーリー/品番 M218DR-1613N
ボンベ運搬車(酸素7000L/アセチレン7.0kg)/品番 M969S-COMPACT
ボンベ二輪車(7000L)/品番 M969S-Oシリーズ
ランタン二輪車/品番 M969S-RANTAN
ミニボンベマルチ運搬車/品番 M969S-SMALL
軽便ドラムカー/品番 SCD-300シリーズ
アルミ製ボンベキャリー/品番 HB−2/HB−4
ドラム缶運搬車/品番 M350R-4C
マグネットドラム缶ヒーター/品番 M1028MG-DRUM
標準ドラム缶ヒーター/品番 M1028H-DRUM-1
簡易ドラム缶ヒーター/品番 M1028K-DRUM
半ドラムコンテナ容器/品番 M1031F-D1
半ドラムコンテナ容器/品番 M1031F-D6
半ドラム反転投入機/品番 M1031FC-350
プラスチックドラムカー/品番 MB17DS-120K
ドラム運搬車/品番 MB17D300-3AKシリーズ
フォークリフト用ドラムキャッチャー/品番 MB17DEH-1K
フォークリフト用ドラム反転機/品番 MB17DET-1K
電動ドラム反転ハンガー/品番 MB17DHDE-300K
スチール製二輪運搬車/品番 SHT−42
スチール製二輪運搬車(4輪)/品番 SNC−150
折りたたみ式ハンディカート/品番 EA520EG-2
折りたたみ式ハンディカート/品番 EA520EG
アルミ製ボンベキャリー/品番 HB−2/HB−4
2輪プラス4輪ハンドトラック/品番 SMG-1
ドラムブレーキ付ハンドトラック(積載荷重225kg)/品番 M14A520BR-2
タイヤブレーキ付ハンドトラック(積載荷重225kg)/品番 M14A520BR-1
ボンベ用ハンドトラック(積載荷重225kg)/品番 M14A520MA-5
ハンドトラック(積載荷重225kg)/品番 M14A520MA-3
ハンドトラック(耐荷重200kg)/品番 M14A520MA-12
ユニキャリー/品番SNCシリーズ
ステンレス製軽便車/品番 STKS-153-SUS
コーラ車/品番 S1413-1/S1413-2
木製二輪車/品番 SYM39シリーズ
自販機用運搬車/品番 MC48A-350L
自販機用運搬車(2段式)/品番 MC48A-650LL2
2輪ハンドトラック/品番 SMA-1/SMA-2
スチールパイプ製二輪運搬車/品番 S1011/S2011/S3011/S4011
スチールパイプ製二輪運搬車/品番 SHT−39/SHT−44/SHT−46
アルミキャリーSBSSシリーズ/品番 SBSSシリーズ
アルミ二輪運搬台車/品番 M453B-R
アルミ折りたたみ二輪車/品番 M14A-520EGK/M14A-5202EGK
アルミ二輪車/品番 M14A-5201AEK/M14A-52020EHT
運搬台車(軽量タイプ)/品番 M257YH
アルミ・スチール二輪運搬車/品番 M257NC-100/M257NC-150/M257YC-200T
アルミ二輪車/品番 M453-RH
アルミ小型二輪車/ 品番 M453C-100AH
網カゴコンテナ二輪車/ 品番 M778L-20WA
アルミ二輪車/品番 M227AM100
アルミ二輪車/品番 M227GL-100A
スチール二輪車/品番 M802AC-01Tシリーズ
角ハンドル二輪車/品番 M802C-4Kシリーズ
コの字ハンドル二輪車/品番 M802C-7Kシリーズ
ボンベ二輪車/品番 M802BC-B1シリーズ
二輪運搬車/品番 M802C-MINIKシリーズ
マルチ二輪運搬車/品番 M802MC-M1シリーズ
ポータブルハイリフト ロードリフト/品番 SLL-5.5
2輪ハンドトラック/品番 SMA-1/SMA-2
アルミ二輪運搬車/品番 WPTA-300G,300U
アルミ二輪キャリー/品番 EZC-1
ショルダ二輪車(背負子)/品番 M899C-H/M899C-N
階段二輪運搬車/品番 M218L-220KGN
二輪四輪兼用台車/品番 M218F-A24N
二輪運搬車(丸型ハンドル片手式)/品番 MC63T-CC1Sシリーズ
樹脂製平台車ルートバン/品番 MP−500B
樹脂製連結式台車マルチキャリー/品番 MP−6839-G100
スタッキングハンドカー/品番 SPD−780
自在連結式樹脂製平台車/品番 SSCR-700Rシリーズ
導電キャリラック(平台車)/品番 DODENTSCARRY
キャリラック/品番 TSCARRY
合板平台車/品番 SPCシリーズ
平板台車/品番 M350M-6N
平板台車/品番 M350M-5N
平板台車/品番 M350M-5G
平板台車/品番 M350M-2N
平板台車/品番 M350M-2G
平板台車/品番 M350M-1N
平板台車/品番 M350M-1G
自在移動回転平台車/品番 WPRAシリーズ
板台車/品番 M350M-7N
帯電防止平台車/品番 M227PE-500シリーズ
導電性平台車/品番 M227PD-500シリーズ
樹脂製平台車/品番 SSC-600RB
角パイプ製平台車
樹脂製平台車/品番 SSC-500NB
エコ平台車/品番 MF3-MI
アルミ伸縮平台車/品番 M196CG-1
大型平台車/品番 MB25-1280D
アルミ平台車ゴム車輪/品番 M654401-R75シリーズ
アルミ平台車ナイロン車輪/品番 M654401-N75シリーズ
アルミ平台車ナイロン車ウレタン巻/品番 M654401-UR75シリーズ
ビール箱台車/品番 M162BD-280M/M162BD-360M
軽量アルミ平台車/品番 M778NKH-6225R
樹脂平台車(120kg)/品番 ME20SK-201Cシリーズ
スタッキング平台車(120kg)/品番 ME20D-4063SEシリーズ
合板製平台車/品番 ME20G-345Nシリーズ
六輪自在搬送台車(1TON)/品番 MF3STT-6
コンテナ用平台車/品番 M958-S113654
導電キャリラック(平台車)/品番 DODENTSCARRY
キャリラック/品番 TSCARRY
ステンレスコンテナ台車/品番 M1048H-S
樹脂製平台車ルートバン/品番 MP−500B
樹脂製平台車ライトキャリー/品番 LC-5
樹脂製平台車ライトキャリー/品番 LC-2
樹脂製連結式台車マルチキャリー/品番 MP−6839-G100
スタッキングハンドカー/品番 SPD−780
自在連結式樹脂製平台車/品番 SSCR-700Rシリーズ
導電キャリラック(平台車)/品番 DODENTSCARRY
キャリラック/品番 TSCARRY
三角形板台車/品番 M350TD-45N
合板平台車/品番 SPCシリーズ
平板台車/品番 M350M-6N
平板台車/品番 M350M-5N
平板台車/品番 M350M-5G
平板台車/品番 M350M-2N
平板台車/品番 M350M-2G
平板台車/品番 M350M-1N
平板台車/品番 M350M-1G
自在移動回転平台車/品番 WPRAシリーズ
板台車/品番 M350M-7N
帯電防止平台車/品番 M227PE-500シリーズ
導電性平台車/品番 M227PD-500シリーズ
樹脂製平台車/品番 SSC-600RB
角パイプ製平台車
樹脂製平台車/品番 SSC-500NB
1斗缶用キャリー/品番
ペール用キャリー/品番 STCP-90/60/45
パレット台車/品番 SPLK-1210A
パレット台車
セパレートパレット台車/品番 WPCDD-0510JBシリーズ
パレット台車(ステンレスSUS304)/品番 WPSRAシリーズ
パレット台車/品番 WPQRAシリーズ
パレット台車/品番 SPLK-1210A
パレット台車/品番 SPLK−1111A
パレット台車/品番 SPLK-1111A
フラットアルミパレットスライド/品番 M581F-L1000シリーズ
アルミパレットスライド/品番 M581D-L1000シリーズ
パレットスライド台車/品番 M623-84Hシリーズ
静音樹脂平台車/品番 ME20D-406T
パレットスライド台車/品番 MD14ASA13
パレット台車/品番 M218NP-15LP
1TONスチールパレット台車/品番 M218R-1TONP
低床パレット台車/品番 M218R1500P
1.5TONスチールパレット台車/品番 M218D150WP
ステンレスパレット台車/品番 M218S1000P
樹脂パレット台車(取手付タイプ)/品番 SSC−110T
樹脂パレット台車(取手なしタイプ)/品番 SSC−110
コゾウリフター/品番 SBE−D250W−22
コゾウリフター/品番 SBE−D250−9
コゾウリフター(大型車輪タイプ)/品番 SBE−H400−12B
コゾウリフター(大型車輪タイプ)/品番 SBE−H400−12B
バッテリー式テーブル型250/品番 SBE−D250−9T
足踏式リフター150・250テーブル型/品番 SBE−H150−9Tシリーズ
ステンレスリフター/品番 SBE-250-12SUS
足踏み式リフター/品番 SBE-H250-9シリーズ
大型車輪油圧リフター/品番 M227EH300-12Bシリーズ
ポーターリフト/品番 MD26-1220シリーズ
ポーターリフト/品番 MD26-1220シリーズ
油圧リフトユニット/品番 SSOM−300/SSOM−500
エルダピッカー/品番SEPシリーズ
電動フォークリフト/品番SSHG061-A
電動フォークリフト/品番SRTP632-A
電動フォークリフト/品番SSHP451-A
電動リフター/品番 KH−5100-A/KH−5200-A/KHD-510-A/KHD−520-A
高揚程リフト 品番 SLMH240/SLMH500 シリーズ
電動油圧式トラバーリフト/品番 SSTE シリーズ
手動油圧式トラバーリフト/品番 SSTS シリーズ
ロール運搬リフター/品番 SSCシリーズ/SPL-H200-12SR
リフトマイティ/品番 SLM350/500
電動(手動)リフト/品番 M277CLシリーズ
BOXリフター/品番 SBL-H150 シリーズ
バッテリー式パワーリフター(2段式・電動走行)/品番 SPLW−D・SPL−U シリーズ
バッテリー式パワーリフター/品番 SPL−D350 シリーズ
手動式パワーリフター/品番 SPL−H200 シリーズ
平台車用スリムリフト/品番 SHLH/SHLEシリーズ
バッテリースクーパー/品番 SLV-50E
スクーパー/品番 SLV-50
リーチ型パワーリフター/品番 SPL-H350-15R
両面パレット対応型パワーリフター/品番SPL-D1000-15J
ジブクレーン型パワーリフター/品番 OD-H1000-K
ジブクレーン型パワーリフター/品番 OD-H500-15G
ミニジブクレーン型パワーリフター/品番 OD-H350-12G
油圧式リフター/品番 WPH600シリーズ
足踏油圧式リフター/品番 WPH250シリーズ
電動油圧リフター/品番 M1315-15Kシリーズ
電動油圧リフター
電動油圧リフター(テーブル式)/品番 M227EN-200T09
電動油圧リフター(テーブル低床式)/品番 M227EN-200TL09
電動油圧リフター(フォーク低床式)/品番 M227EN-200FL09
テーブル式電動油圧リフター/品番 M227BED-200Tシリーズ
低床フォーク式電動油圧リフター/品番 M227BED-200FL
スタッカー油圧リフト/品番 M227A-0515Tシリーズ
2段マスト電動油圧リフト/品番 M82LF-D250W22STシリーズ
電動油圧リフター/品番 M82LF-D2509シリーズ
バッテリー式パワーリフター/品番 SPLW-D250-21S
手動式油圧リフター/品番 MD18T-H200-9LIGシリーズ
電動式油圧リフター/品番 MD18T-B200-9LIGシリーズ
手動式フォーク油圧リフター/品番 MD18T-H200-9FLIG
電動式油圧フォークリフター/品番 MD18T-B200-9FLIG
足踏式油圧リフター(テーブル)/品番 MD18TBFN-H200-9TB
足踏式油圧リフター(低床)/品番 MD18TSFN-H150-12-5HT
電動油圧式リフター(テーブル)/品番 MD18TBFN-D400-9TB
電動油圧式リフター(低床)/品番 MD18TSFN-D300-15-5HT
電動シリンダー式リフター/品番 MD18STFN-B200-9Tシリーズ
電動シリンダー式リフター(低床)/品番 MD18TSFN-B150-12-5HT
電動シリンダー式リフター(テーブル)/品番 MD18TBFN-B200-9TB
足踏式油圧リフター(脚幅広)/品番 MD18WFN-H400-15WT
足踏式油圧リフター/品番 MD18STFN-H150-9T
足踏油圧リフター/品番 M227EN-H200-9シリーズ
ロングフォーク足踏油圧リフター/品番 M227EN-H150-9
足踏油圧リフター(大車輪)/品番 M227EN-H400-9B
足踏油圧リフター(大車輪ロングフォーク)/品番 M227EN-H300-9B
足踏油圧リフター(低床式)/品番 M227EN-H150-12-5H
足踏油圧リフター(テーブル型)/品番 M227EN-H200-9T
ステンレス足踏油圧テーブルリフター/品番 M227EN-H200-12SUST
ステンレス足踏油圧リフター/品番 M227EN-H200-12SUS
足踏式油圧リフター/品番 MD18STFN-H150-9T
足踏式油圧リフター(大車輪)/品番 MD18BFN-H300-9BT
電動油圧式リフター/品番 MD18DEFN-D400-9T
電動油圧式リフター(大車輪)/品番 MD18BFN-D400-9BT
電動油圧式リフター(2段マスト)/品番 MD18WMFN-D200W-22STD
ポーターリフト/品番 MD26-1220シリーズ
ポーターリフト/品番 MD26-1220シリーズ
カウンターリフター/品番 M37PL-20012B
自動式カウンターリフター/品番 M37PL-100015シリーズ
油圧リフトユニット/品番 SSOM−300/SSOM−500
エアコン昇降機/品番 STA800A
スカイフォーク/品番 STA800
電動リフト/品番 S901A-52
電動リフト/品番 S901A-27/S901A-34
エアコンリフト/ 品番 S901N-27
クランプ・アタッチメント付ステンレスリフト/品番 ST-50F
ステンレスリフト/品番 ST-50LT
ジブ型ハンドリフト/品番 SHGL150
リフトパッタンコ/SYVI・S2GHB
エルダピッカー/品番SEPシリーズ
電動フォークリフト/品番SSHG061-A
電動フォークリフト/品番SRTP632-A
電動フォークリフト/品番SSHP451-A
電動リフター/品番 KH−5100-A/KH−5200-A/KHD-510-A/KHD−520-A
電動スタッカーリフト/品番 M189SW-7R15シリーズ
電動スタッカーリフト/品番 M189SW-10シリーズ
電動スタッカーリフト/品番 M189RLW2-10シリーズ
高揚程リフト 品番 SLMH240/SLMH500 シリーズ
スーパーリフトコントラクター/品番 SSLC シリーズ
スーパーリフトアドバンテージ/品番 SSL シリーズ
舞台照明用リフター/品番 M285T-20/M285T-25
固定型手動リフター(100kg大)/品番 M238A-50SJ
固定型手動リフター(100kg小)/品番 M238A-35SJ
固定型手動リフター(80kg)/品番 M238A-35AJ
油圧ジャッキ式固定型手動リフター(150kg)/品番 M238A-45SJA
スクリュー式移動型手動リフター(100kg)/品番 M238A-35SJ1
スクリュー式移動型手動リフター(80kg)/品番 M238A-35AJ1
手動リフトキャリー(150kgハンドル型)/品番 M231S150
手動リフトキャリー(100kgレバー型)/品番 M231S100L
手動リフトキャリー(100kgハンドル型)/品番 M231S100
ローハイシステムテーブル ワゴンタイプ
電動油圧式トラバーリフト/品番 SSTE シリーズ
手動油圧式トラバーリフト/品番 SSTS シリーズ
手動油圧式トラバーリフト/品番 SSTS15シリーズ
キャリーリフター・キャリーリフトハイ/品番 SCL シリーズ
ロール運搬リフター/品番 SSCシリーズ/SPL-H200-12SR
簡便リフター/品番 M131-SB
簡便リフター/品番 SL/SE
リフトマイティ/品番 SLM350/500
電動リフター/品番 MB17LM−100K
ステンレスリフター/品番 SSHL350 シリーズ
ハンドリフター/品番 SHLシリーズ
BOXリフター/品番 SBL-H150 シリーズ
リフター/品番 SKL シリーズ
バッテリー式パワーリフター(2段式・電動走行)/品番 SPLW−D・SPL−U シリーズ
バッテリー式パワーリフター/品番 SPL−D350 シリーズ
手動式パワーリフター/品番 SPL−H200 シリーズ
手動リフター/品番 KL−08/25/35/50
平台車用スリムリフト/品番 SHLH/SHLEシリーズ
バッテリースクーパー/品番 SLV-50E
スクーパー/品番 SLV-50
超低床リフター/品番 MF3-500L/MF3-500H
リーチ型パワーリフター/品番 SPL-H350-15R リーチ型パワーリフター電動バッテリータイプ詳細
両面パレット対応型パワーリフター/品番SPL-D1000-15J
ジブクレーン型パワーリフター/品番 OD-H1000-K
ジブクレーン型パワーリフター/品番 OD-H500-15G
ミニジブクレーン型パワーリフター/品番 OD-H350-12G
油圧式リフター/品番 WPH600シリーズ
足踏油圧式リフター/品番 WPH250シリーズ
コンテナカート/品番 WPSC-80・150
低床フォーク式リフター/品番 M227BE-200FLシリーズ
電動油圧リフター/品番 M1315-15Kシリーズ
手動リフター/品番 M131-250Kシリーズ
電動油圧リフター
コンテナカートU/品番 WPSC2-150
ホイストフレコンハンガー吊り具/品番 M1007SH-1000KGS
フォークリフトフレコンハンガー/品番 M1007SF-1200KGS
フレコンバック吊り具(フォークリフト用)/品番 MD268A-500
台車アームリフタ/品番 MF33BD-1AH
台車アームリフター/品番 MF33BD-1BH
油圧アームクレーン/品番 M37C-H500
ジブアームリフト/品番 M131J-110K
ウインチアームリフト/品番 M303MC-500H/M303MC-1000H
ステンレスリフター/品番 MB17P-100K/MB17P-150K
ステンレスハンドリフト/品番 MB17L-100KYSシリーズ
電動ステンレスハンドリフト/品番 MB17M-100KYSシリーズ
油圧反転ハンドリフト/品番 MB17MF200-24Cシリーズ
反転ハンドリフト/品番 MB17LS30-9Cシリーズ
リフトマイティ/品番 MB17LM500-2Kシリーズ
ロール用早揚りリフター/品番 M37C2-8SR1シリーズ
フォーク式早揚りリフター/品番 M37C2-8FAシリーズ
油圧早送りリフター/品番 MC30-GL25シリーズ
電動リフター/品番 M227E-B1509シリーズ
電動油圧リフト/品番 MB17M350-25/MB17M500-25
スチールフット油圧リフト/品番 MB17L120-9シリーズ
油圧ジブ型リフト/品番 MB17GL150/MB17MGL150
ステンレスジブアームリフト/品番 MB17HGL150シリーズ
ステンレスリフター台車/品番 MB17LP50シリーズ
人力エコフォークリフト/品番 M646F-100S
油圧リフター/品番 M227PAH-1016
バッテリー油圧リフター/品番 M227PAD-1016シリーズ
2段マストバッテリー油圧リフト/品番 M227E-D250W22ST
電動走行油圧リフター/品番 M131S-3515シリーズ
チェーン式ジブ型リフト/品番 MB17GL-150TK
電動ジブ型リフト/品番 M131V-150E/M131V-150
電動油圧式リフト走行アシスト付/品番 MC30T50Aシリーズ
手動リフター台車・電動リフター台車/品番 MC30X10Wシリーズ
手動リフトキャリー(高揚程車輪幅大)/品番 M231SH-100
手動リフトキャリー(高揚程)/品番 M231SW-100シリーズ
手動式パワーリフター/品番 M37L-H35015シリーズ
バッテリー式油圧パワーリフター/品番 M37L-D35015シリーズ
電動走行油圧パワーリフター/品番 M37L-U35015シリーズ
電動走行油圧パワーリフター/品番 M37L-SU50015シリーズ
1100mmパレット用リフター/品番 M37H200-15Jシリーズ
電動リフト/品番 S901A-52
電動リフト/品番 S901A-27/S901A-34
ステンレス油圧リフター/品番 M227EH250-12SUS
フット油圧リフター/品番 M350A-415S
アルミハイリフトベース幅可変式/品番 M285GL-4Nシリーズ
ポータブルハイリフト
足踏油圧手動式リフター/品番 M82LF-H1509シリーズ
電動油圧フォークリフター/品番 M131ED-30S
電動油圧カウンターリフト/品番 MD18FNK-D350-15T
ジブリフト(足踏式)/品番 MD18FN-H500-15JTシリーズ
トラック積み上リフト/品番 M37T-200RK
電動油圧アシストリフト/品番 MB17M-350シリーズ
リーチ型電動油圧アシストリフト/品番 MB17M-200RE
電動アシストドライブ/品番 MB17E-1000K/MB17E-1500K
油圧テーブル式リフター/品番 MB17L-150-8TK
低床油圧テーブル式リフター/品番 MB17L-150-8LK
フォーク油圧リフター/品番 MB17L-150-8FK
バッテリースリムリフター/品番 MB17S-L80K
テーブル式集塵機品番 SHMDシリーズ
空圧式細霧冷却クーラー品番 M735G-RC
大型フロアー扇(1m羽根)/品番 MF34A1031CF
長尺物台車/品番 M227DPN-25032シリーズ
長尺大型台車/品番 M429U-350M
長尺運搬車/品番 M429C-601M
超低床式電動油圧リフト/品番 MB20L-09Aシリーズ
大型保冷コンテナ/品番 M916I-50Gシリーズ
電動油圧フォークリフター/品番 M131ED-30S
ターミナルワゴン/品番 MF3C-H7
エルゴノミックプラ台車/品番 MF3EPL-3LSCシリーズ
フォークリフト用充電コードリール/品番 M486C-5
延長スライドフォーク爪/品番 M217-SF100シリーズ
物流機器カテゴリ
おすすめ商品
アルミ製運搬車
ドラム缶運搬車
ハンドパレット
パレット
パレット台車
コゾウリフター
コンテナ
ゴミ箱
プレス製台車
ステンレス作業台
ステンレス台車
ホワイトラスティー
ボックスパレット
マルチキャリー
マワール
ワゴン
安全用品
作業台
作業用イス(オフィスチェア)
手動リフター
台車
台車リフト
棚
電動テープルリフト
電動台車
鉄板台車
平台車
油圧ハンドリフター
物流機器その他
荷崩れ防止用品
電動油圧フォークリフト
タンク
油圧テーブルリフト
長尺物運搬車
季節商品(夏)
集塵機
フレコンバック吊り具
マット、作業用マット、玄関マット
二輪車
物流機器関連タグ
ターミナルワゴン
,
チルトピックリフト
,
アルミパレットスライド
,
アルミワークテナー
,
アルミ伸縮平台車
,
エコアールイーパレット
,
エルゴノミックプラ台車
,
ドラム缶運搬車
,
ハンドトラック
,
ハンドパレットトラック
,
パレット
,
パレットトラック
,
コンテナ一輪車
,
サポートベルト
,
フレコン つりぐ 吊具 フレコンハンガ フレコンフック
,
ステンレス作業台
,
スクラップ鉄板台車
,
ペール用キャリー
,
メッシュボックスパレット
,
ロールターン
,
移動台車リフター
,
延長スライドフォーク爪
,
荷崩れ防止用品
,
滑り止め
,
簡単組立移動パレットラック
,
機密書類回収箱
,
空圧式細霧冷却クーラー 細霧クーラー
,
充電コードリール
,
小型作業台
,
足踏み式リフター
,
足踏式テーブルリフト
,
帯電防止ワゴン
,
台車
,
台車用電動ドライブユニット
,
大型コンテナ
,
電動リフター
,
電動油圧フォークリフト
,
導電イス
,
導電マット